ZUPAN d.o.o.
, Celestrina 3
, 2229 Malečnik
, Slovenia
+386 (0)2 471 60 50
|
+386 (0)51 605 081
Quick order
Registration
|
Login
|
B2B
en
sl
de
Cart:
0,00 €
0
Cart is empty
Sales program
Help
How to register
How do I get an offer?
Payment on delivery
Payment with credit card
Shipping cost
Delivery time
Return of goods
Bills on tax code
Delivery
Terms and conditions
Privacy statement
Sale
News
Contact
Spraying
Ceramic nozzles
Nozzles made of polyacetal
Spray guns
High pressure and suction hoses
Hose fittings
Hand, motor and electric sprayers
Equipment for sprayers
Pumps and pressure regulators
Band spraying and cleaning
Chemicals and cleaners
Protective spraying equipment
Plant equipment
Bind material
Measuring accessories
Harvesting tools
Protection for vines and fruit trees
Wire, tensioners
Winery
Corkers, cappers
Openers
Filters, filter pads
Washer, bottle drainer
Caps and corks
Thermocapsules
Tanks and tanks equipment
Pumps, pipes
Miscellaneous equipment
Measuring accessories
Enology
Hand tool
Pruners
Saws
Miscellaneous tools
Spare parts
Home and garden equipment
Lawn care
Home equipment
Chainsaw accessories
Parts of agricultural machinery
PTO shafts
V-belts
Wheels, tires, semi axes
Mechanical components of machines
Hydraulic components of machines
Electrical components
Spare parts of components
Pressure regulators
Pumps
Suction and pressure filters
Nozzles
Other components
Oleo Mac – spare parts
Lawnmowers, brush cutters
Chainsaws
Sprayers
Earth augers, pumps
Our production program
Spare parts of machines ZUPAN
Nozzle consultant
Spare parts of machines
ZUPAN d.o.o.
, Celestrina 3
, 2229 Malečnik
, Slovenia
+386 (0)2 471 60 50
|
+386 (0)51 605 081
Registration
|
Login
|
B2B
en
sl
de
+386 (0)2 471 60 50
Cart:
0,00 €
0
Cart is empty
Quick order
Sales program
Spraying
Plant equipment
Winery
Hand tool
Home and garden equipment
Parts of agricultural machinery
Spare parts of components
Oleo Mac – spare parts
Our production program
Spare parts of machines ZUPAN
Help
How to register
How do I get an offer?
Payment on delivery
Payment with credit card
Shipping cost
Delivery time
Return of goods
Bills on tax code
Delivery
Terms and conditions
Privacy statement
Sale
News
Contact
User login
E-mail
Password
Delivery country
Afghanistan
Albania
Algeria
American Samoa
Andorra
Angola
Anguilla
Antigua and Barbuda
Argentina
Armenia
Aruba
Australia
Austria
Azerbaijan
Bahamas
Bahrain
Bangladesh
Barbados
Belarus
Belgium
Belize
Benin
Bermuda
Bhutan
Bolivia, Plurinational State of
Bonaire, Sint Eustatius and Saba
Bosnia and Herzegovina
Botswana
Brazil
Bulgaria
Cameroon
Canada
Cape Verde
Cayman Islands
Central African Republic
Chad
Chile
Colombia
Comoros
Congo
Congo, the Democratic Republic of the
Cook Islands
Costa Rica
Côte d'Ivoire
Croatia
Cuba
Curaçao
Cyprus
Czech Republic
Denmark
Djibouti
Dominica
Dominican Republic
Ecuador
Egypt
El Salvador
Equatorial Guinea
Eritrea
Estonia
Ethiopia
Falkland Islands (Malvinas)
Faroe Islands
Fiji
Finland
France
French Guiana
Gabon
Gambia
Georgia
Germany
Ghana
Gibraltar
Greece
Greenland
Grenada
Guadeloupe
Guam
Guatemala
Guernsey
Guinea
Guinea-Bissau
Guyana
Haiti
Honduras
Hong Kong
Hungary
Iceland
India
Indonesia
Iran, Islamic Republic of
Iraq
Ireland
Israel
Italy
Jamaica
Japan
Jersey
Jordan
Kazakhstan
Kenya
Kuwait
Kyrgyzstan
Lao People's Democratic Republic
Latvia
Lebanon
Lesotho
Liberia
Libya
Liechtenstein
Lithuania
Luxembourg
Macao
Macedonia, the former Yugoslav Republic of
Madagascar
Malawi
Malaysia
Maldives
Mali
Malta
Marshall Islands
Martinique
Mauritania
Mauritius
Mayotte
Mexico
Micronesia, Federated States of
Moldova, Republic of
Monaco
Mongolia
Montenegro
Montserrat
Morocco
Mozambique
Myanmar
Namibia
Nauru
Nepal
Netherlands
New Caledonia
New Zealand
Nicaragua
Niger
Nigeria
Niue
Norway
Oman
Pakistan
Palau
Panama
Papua New Guinea
Paraguay
Peru
Philippines
Poland
Portugal
Puerto Rico
Qatar
Republic of Kosovo
Réunion
Romania
Russian Federation
Rwanda
Saint Barthélemy
Saint Kitts and Nevis
Saint Lucia
Saint Vincent and the Grenadines
Samoa
San Marino
Sao Tome and Principe
Saudi Arabia
Senegal
Serbia
Seychelles
Sierra Leone
Sint Maarten (Dutch part)
Slovakia
Slovenia
South Africa
South Sudan
Spain
Sri Lanka
Sudan
Suriname
Swaziland
Sweden
Switzerland
Syrian Arab Republic
Taiwan, Province of China
Tajikistan
Tanzania, United Republic of
Thailand
Togo
Tonga
Trinidad and Tobago
Tunisia
Turkey
Turks and Caicos Islands
Tuvalu
Uganda
Ukraine
United Arab Emirates
United Kingdom
United States
Uruguay
Uzbekistan
Vanuatu
Venezuela, Bolivarian Republic of
Viet Nam
Virgin Islands, British
Virgin Islands, U.S.
Yemen
Zambia
Zimbabwe
Delivery area
Save
Home
/
Sales program
/
Oleo Mac – spare parts
/
Sprayers
/
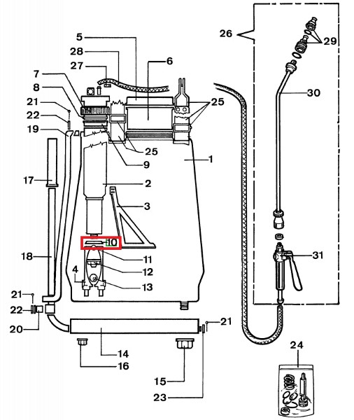
Piston pump
Piston pump
Brand:
Oleo Mac
Piston pump.
For models: 20 L, 21 L
Picture
Code
Product
Color
Size/Packaging
Stock
Price
Order
Code:
360100010
Piston pump
Color:
Size/Packaging:
1 pcs
Stock:
In Stock
Price:
1,15 €
0,58 €
Add to cart
Price includes VAT
Related products
up to -40%
Gas cable AM 150
Price:
3,61 €
2,16 €
Add to cart
up to -40%
Gasket
Price:
2,27 €
1,36 €
Add to cart
up to -20%
Fuel tank cap
Price:
6,25 €
5,00 €
Add to cart
up to -50%
Fuel pipe attachment
Price:
4,77 €
2,38 €
Add to cart
Regulator housing MC 20/20
Price:
22,08 €
Add to cart
up to -50%
Small bearing ball OM20
Price:
1,15 €
0,58 €
Add to cart
up to -50%
Lead
Price:
3,39 €
1,70 €
Add to cart
up to -50%
Double exit AM 150
Price:
41,98 €
20,99 €
Add to cart
up to -40%
O-ring 2050
Price:
0,59 €
0,36 €
Add to cart
Control valve housing
Price:
17,96 €
Add to cart
up to -50%
Safety clip AM 150
Price:
0,84 €
0,42 €
Add to cart
up to -40%
Filter gasket AM162
Price:
8,04 €
4,82 €
Add to cart
up to -30%
Radial seal 15x30x5,5
Price:
6,26 €
4,38 €
Add to cart
up to -40%
Sprayer piston
Price:
12,18 €
7,31 €
Add to cart
up to -40%
Fuel pipe attachment
Price:
2,44 €
1,46 €
Add to cart
People also viewed
up to -40%
Filter gasket AM162
Price:
8,04 €
4,82 €
Add to cart
up to -30%
Spring for the head
Price:
0,52 €
0,37 €
Add to cart
up to -50%
Screw for the head
Price:
0,90 €
0,45 €
Add to cart
up to -50%
Lid of the mower head Master
Price:
12,61 €
6,31 €
Add to cart
up to -10%
Automatic head spring
Price:
2,64 €
2,37 €
Add to cart
up to -50%
Exhaust washer
Price:
1,59 €
0,79 €
Add to cart
up to -30%
Wheel support toothed
Price:
3,35 €
2,35 €
Add to cart
up to -50%
Chainsaw bar OM – 52 cm 3/8"
Price:
92,85 €
46,43 €
Add to cart
up to -40%
O-ring 2050
Price:
0,59 €
0,36 €
Add to cart
up to -50%
Flange of the carburettor
Price:
21,83 €
10,91 €
Add to cart
up to -20%
Spring
Price:
0,30 €
0,24 €
Add to cart
up to -40%
Pump flange
Price:
5,69 €
3,41 €
Add to cart
up to -40%
Nut M 10x1
Price:
0,85 €
0,51 €
Add to cart
up to -50%
Oil pipe
Price:
6,56 €
3,28 €
Add to cart
up to -50%
Chainsaw handle
Price:
17,08 €
8,54 €
Add to cart